産品詳情
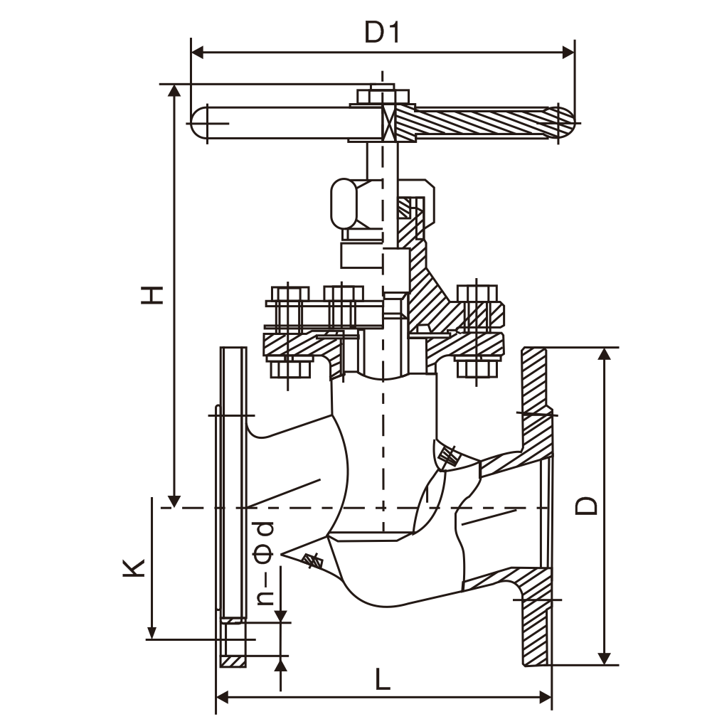
主要外形(xing)尺寸
|
DN(mm) |
NPS(in) |
L |
H |
D |
K |
D1 |
n-Φd |
|
80 |
3 |
304 |
283 |
195 |
160 |
195 |
8-18 |
|
100 |
4 |
325 |
345 |
215 |
180 |
240 |
8-18 |
|
125 |
5 |
396 |
375 |
240 |
210 |
235 |
8-18 |
|
150 |
6 |
480 |
395 |
280 |
240 |
320 |
8-18 |
注: DN125-DN200閥杆采用不(bú)鏽鋼材料。
産品(pin)推薦
蘇公網(wang)安備 32010202011315号